苹果公司申请新专利 聚合USB接口和SD卡槽

苹果新专利
新浪科技讯 北京时间6月28日凌晨消息,苹果公司周四向美国专利商标局提交的一份专利文件显示,该公司为一项聚合USB接口和SD卡槽的新技术申请专利。
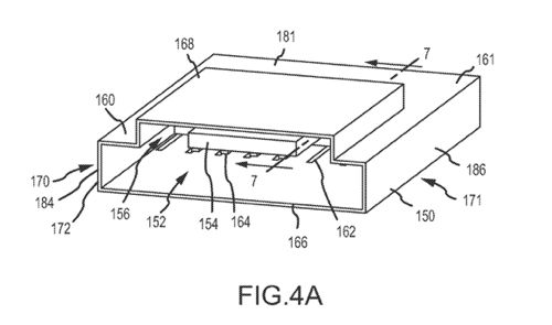
该专利名为“混合输入端口”技术。专利文件显示,新技术能够将SD卡槽和标准的USB接口合二为一,从而节约笔记本的侧部空间。该技术有望让11英寸的MacBook Air配置SD读卡器。
在专利文件的描述中,该技术有更全面的应用范围。苹果公司在文件中主要以聚合USB接口和SD卡槽的技术为例,但该技术同样能应用于一切合适的接口,以及配置传输数据和电源接口的多种设备。
苹果公司早在2011年12月就递交这项专利的申请,最近美国专利商标局才公布该项专利,但尚未正式授予苹果公司此专利。
苹果公司会常规地申请技术专利,但很多技术专利并不会最终成为产品。鉴于节约空间等实用价值,该项专利有望成为产品。
苹果公司最近发布新款MacBook Air,该产品在设计方面变动不大。预计不久后,苹果公司将发布配备Retina显示屏的MacBook Pro,该设备或许会配置“混合输入端口”。
来源:新浪科技




